Product Summary
The MC9S08GT16ACFBE is a 8-bit microcontroller unit (MCU).
Parametrics
Absolute maximum ratings: (1)Supply voltage, VDD: –0.3 to +3.8V; (2)Maximum current into VDD, IDD: 120mA; (3)Digital input voltage, VIn: –0.3 to VDD + 0.3V; (4)Storage temperature range, Tstg: –55 to 150℃; (5)Maximum junction temperature, TJ: 150℃.
Features
Features: (1)Active background mode for code development; (2)Wait mode: CPU shuts down to conserve power; System clocks running; Full voltage regulation maintained; (3)Stop modes: Stop1—Full power down of internal circuits for maximum power savings; Stop2—Partial power down of internal circuits, RAM contents retained; Stop3—All internal circuits powered for fast recovery.
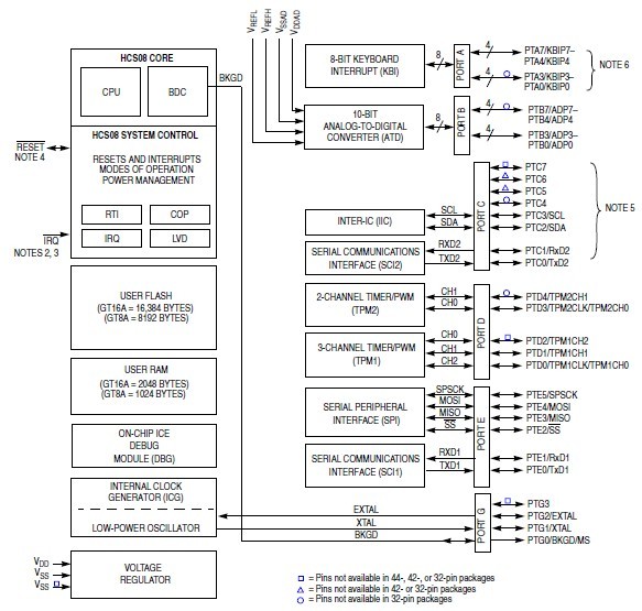
Diagrams

| Image | Part No | Mfg | Description | ![]() |
Pricing (USD) |
Quantity | ||||||||||||
|---|---|---|---|---|---|---|---|---|---|---|---|---|---|---|---|---|---|---|
![]() |
![]() MC9S08GT16ACFBE |
![]() Freescale Semiconductor |
![]() 8-bit Microcontrollers (MCU) 8 BIT 16K FLASH 2K RAM |
![]() Data Sheet |
![]()
|
|
||||||||||||
![]() |
![]() MC9S08GT16ACFBER |
![]() Freescale Semiconductor |
![]() 8-bit Microcontrollers (MCU) 8B 16K FLASH 2K RAM |
![]() Data Sheet |
![]()
|
|
||||||||||||
(China (Mainland))








